少林寺進軍房地產 方丈成老闆控18間企業

少林寺進軍房地產 方丈成老闆控18間企業

瀏覽:2478

少林寺進軍房地產 方丈成老闆控18間企業

4.52 億拿下一宗商業用地

4月6日,鄭州市鄭州東區合計64.795畝商業用地完成出讓,成交價合計5.26億元。河南建業集團旗下鄭州建祺置業以7400萬元競得鄭政東出[2022]1號(網)地塊使用權。

少林寺進軍房地產 方丈成老闆控18間企業


而河南鐵嵩數字科技有限公司以4.52億元底價競得鄭政東出[2022]2號(網)地塊使用權。該地塊位於育翔路南、龍湖內環東路西,面積57.25畝,為零售商業、批發市場、餐飲、旅館用地、商務金融用地。

少林寺進軍房地產 方丈成老闆控18間企業


天眼查數據顯示,河南鐵嵩數字科技有限公司(下稱“鐵嵩科技”)2022年3月22日剛剛成立,註冊資本為45200萬人民幣,與此次所獲地塊成交額完全一致,可以說這塊地就是為其量身打造。鐵嵩科技法定代表人為鮑夏,經營範圍包括數字文化創意軟件開發、營業性演出、園區管理服務、住房租賃、房地產開發經營等。

少林寺進軍房地產 方丈成老闆控18間企業


據時代財經,鄭東新區管委會2020年12月3日為該宗地定制了產業實施方案,將項目定位為文化產業類,建成後主要業態必須從事文藝演藝、文化展覽、文化創意產業辦公、酒店及服務型公寓。具體來看,該項目包括一座建築面積約6000平方米文藝演藝中心,一所面積約3000平方米的藝術展覽館,一個面積約11000平方米的文創產業園區,一家面積約18000平方米的國際五星級酒店,以及面積約19200平方米、可對外銷售的服務型公寓。

少林寺進軍房地產 方丈成老闆控18間企業


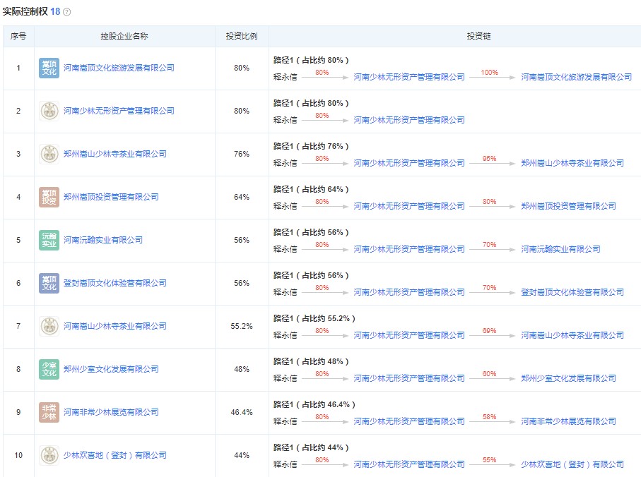
而鐵嵩科技的兩大股東為河南鐵投綜合開發有限公司和河南沅翰實業有限公司(下稱“沅翰實業”),持股比例分別為51%、49%。沅翰實業由河南少林無形資產管理有限公司(下稱“少林資管”)持股70%,而少林資管又被現任少林寺方丈釋永信持股80%。從股權路徑看,釋永信是沅翰實業最終受益人。

少林寺進軍房地產 方丈成老闆控18間企業


對於少林寺進軍房地產,網友一片嘩然:“少林寺不是淨土嗎”“方丈成老闆,這可以嗎”“這世道變化快啊,少林寺都出山了”……。還有的網友稱“請問怎麼才能去少林寺當和尚?”。



少林寺進軍房地產 方丈成老闆控18間企業


少林寺進軍房地產 方丈成老闆控18間企業




猜你可能會喜歡:

瀏覽:311
Bill Gates 為愛潑斯坦關係道歉 首認兩段婚外情

瀏覽:350
大埔清晨車禍 司機棄車逃逸

瀏覽:223
牛油果果農到懸賞過億通緝犯


返回主頁

@ 2019-2026
最後更新:2026-04-06
文章數:8525 / 閱讀量:65024412